Anyone who works on rusty iron is familiar with nuts and bolts, as literally hundreds of these handy little gadgets are used to hold together the machines we all love. If we need a supply of new nuts and bolts, a quick trip to the local hardware store will usually suffice. But the fasteners weren’t always so easy to obtain.
Early in the machine age, the necessary nuts and bolts were all handmade, with scarcely any two of the resulting fasteners being precisely the same shape, size or thread. In fact, the inventor of the forerunner of the modern Crescent wrench (a young Swedish machinery repairman named Johansson) grew so weary of lugging his large toolbox, heavy with all the different-size wrenches he needed, that during the 1880s he was inspired to invent the adjustable wrench.
Mastering a complex process
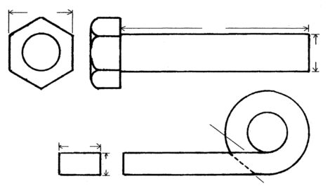
One method used by blacksmiths to make a large bolt with a hex head was to take a length of iron rod the diameter of the desired bolt and cut it to length. A piece of square iron bar was heated and bent around a mandrel to form a ring with an inner diameter the same as the bolt size. This ring was placed over one end of the bolt and both were brought to a welding temperature in the forge and hammered until the ring was securely welded onto the rod end.
The new bolt head was then reheated and hammered into an angled notch in a swage block, turning the head again and again, until the six sides were properly formed. This process usually left the top and bottom faces of the bolt head very rough, so another reheat and a different set of swages or a heading tool were used to flatten these surfaces. Final finishing was done with a file or a cupping tool.
Another way of making square- and hex-headed bolts was to heat and upset one end of a rod of the desired bolt diameter. Upsetting, or thickening (sometimes known as “jumping up”) the end of a rod was accomplished by heating one end of the rod, holding the rod vertically on the anvil with the heated end up, and hammering on that heated end until it spread and thickened enough to provide sufficient metal to form the bolt head.
The head was then reheated and the cold end of the bar was passed through a suitable hole in a swage block, or through a heading tool, where the upset end was hammered down against the block to form the flat underside of the head. The head was then made square by hammering and, finally, filing.
Hand-built taps and dies
Small bolts were usually formed by using a case-hardened tool that had a round hole the size of the bolt shank but shorter than the length of the rod from which the bolt was to be made. Around the top of the hole was a depression the shape and size of the desired head, which could be hex or square. One end of a piece of iron rod was heated and the rod was placed in the hole with the heated end up. The smith then hammered the hot metal into the depression to form the bolt head.
After all his effort, the smith still had nothing but a round pin with a bolt head. Next, he needed a suitable die with which to cut threads on the bolt. The first step was to take a piece of steel rod of the same diameter as the bolt shank and file threads in it by hand. After the threads were filed, several notches were filed lengthwise through the threads to form cutting edges.
This tool, which was to become a tap, was then case-hardened and used to cut threads in an iron or mild steel plate with a properly sized hole. A thin file was used to cut two or three notches across the threads in the hole, forming cutting edges and providing a space for the escape of the metal shavings formed during the threading process. After case hardening, the plate was used as a die to cut threads on the bolt. As can be imagined, there were no standardized threads, even on bolts of the same size.
At that point, our blacksmith had a threaded bolt, but it wasn’t much good without a nut. To make nuts, a flat iron bar of the desired thickness and width of the completed nut was marked off into squares. Each marked square was nicked with a cold chisel and the center of each square was marked with a center punch. The bar was heated and the holes were punched through in succession.
Each nut was cut off at the nicks with a hot cutter in the anvil’s hardie hole. After they were cut apart, each nut was held in a vise and threaded with a tap as described previously.
Most early nuts were square as a result of this method of manufacture. It was possible, of course, to weld up a ring like that used for a bolt head, file it to a hexagonal shape and tap each piece to make a hex nut, but that required a lot more work.
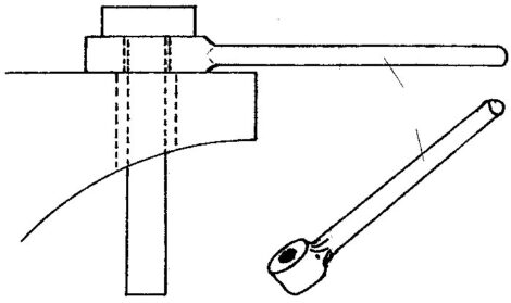
Making a bolt by welding on a ring of metal:

Illustration 1
In this example, a bolt 1-1/4 inches in diameter and 6 inches long is required. The blacksmith chooses to make the bolt by welding a ring around the end of an iron rod 1-1/4 inches in diameter and 7 inches long. The ring is made from a piece of flat iron bar 1-inch wide, 1/2-inch thick and long enough to afford an end to grasp the bar after the ring is made. The bar end is heated, upset slightly and scarfed before being bent around a mandrel so the inside diameter of the ring is 1-1/4 inches (bottom). The ring is then cut from the bar by a diagonal cut as shown by the dotted line, slipped over one end of the rod, welded into place and shaped by using a heading tool and a swage block.

Illustration 2
A bolt-heading tool is used to form the flat underside of the bolt head. The tool is shown in a perspective view at below left, while the top left shows the same tool in position over the anvil’s hardie hole with a flattened bolt blank in place.

Illustration 3
The ring and one end of the rod are heated to welding temperature and fluxed. They are removed from the fire and the end of the rod is quickly driven into the ring. The head is laid in a swage (as shown) and welded together by light hammer blows on the sides of the ring as the rod is turned in the swage. This welds the ring to the rod, welds the ends of the ring together, and gives rough form to the head.
The bolt is then dropped through the hole in a heading tool resting on the anvil, and the underside and top of the head are flattened. The head is again laid in the swage and hammered on each surface to form the correct hexagonal shape. Two or three passes back and forth between the sage and the header may be necessary. Finally, the bolt is put back into the header and a cupping tool is used to give a rounded form to the top edges of the bolt head.
A good blacksmith could do all the above operations at a single heat, if the bolt was large, or two for smaller sizes. Finally, the bolt is threaded with a die.
Making a bolt by upsetting, or jumping up, the end of a rod:

Illustration 4
To make the square-headed bolt shown in Illustration 4, one end of a 1/2-inch rod is heated and upset until enough metal has been jumped up to form the head. The enlarged end is then reheated and dropped through a heading tool on the anvil. The upset end is hammered down against the heading tool (as shown in Illustration 6 below) until the head is 9/16-inch thick. The head is then hammered square to the proper size of 3/4-inch. If the head is too thick after squaring to size, it’s cut off with a hot cutter. The bolt is then put back into the heading tool and finished with the hammer and a file or a cupping tool. Finally, the bolt is cut to length and threaded with a die.
A hex head bolt is made in the same way, except a swage is used along with the heading tool to form the hexagonal shape of the bolt head

Illustration 5
A length of rod, one end of which has been upset by heating and hammering until the thickened edge is large enough to form the bolt head.
Illustration 6
Here, a blacksmith uses a heading tool to form the flat underside and top of a bolt head from a rod with an upset end.
Making nuts:
Illustration 7
A punch used to make holes in heated metal. The punch is held with one hand and struck with a hammer. There must be a hole in the surface beneath the hot metal to allow the material to be punched through cleanly.
Illustration 8
A hot cutter (a sharpened hardie in an anvil) is used to cut off the punched squares of heated metal that form the nuts. After the strip of iron is marked in squares, it is heated and placed over a suitable hole in an anvil, bolster, or swage block. To make the hole, a punch like the one illustrated is used. Once the holes are punched, the individual nuts are cut off using a hot cutter, such as the one illustrated. After cooling, each nut is gripped in a vise and a tap is used to cut the threads.
Advent of automation brings progress
Inventive minds were busy, however. By the mid-1800s, development of automated machines to make bolts and nuts was underway, while engineering associations in various countries adopted uniform sizes and threads. Nuts and bolts became cheap to buy and interchangeable, making life much easier for mechanics.
When I was a kid, some of the old timers referred to nuts as “burrs,” although I can find no explanation why. For that matter, I can find no reason why they’re called nuts. I have a book published in 1876 that calls them nuts, so I don’t think “burr” was ever an official name for the things.
It’s fascinating how the old blacksmiths could make virtually anything out of metal by using nothing more than a forge, a hammer and an anvil. Most of the specialized tools the smith needed (hardies, chisels, punches, swages, flatters and even files, taps and dies) he made himself as well. FC
(All drawings are by the author and are based on illustrations in the Manual of Blacksmithing and Blacksmith Shop & Iron Forging.)
Sam Moore grew up on a farm in western Pennsylvania. He now lives in Salem, Ohio, and collects antique tractors, implements and related items. Contact Sam by email at letstalkrustyiron@att.net




